TOC   Previous   Next

The shared library soname (cont.)

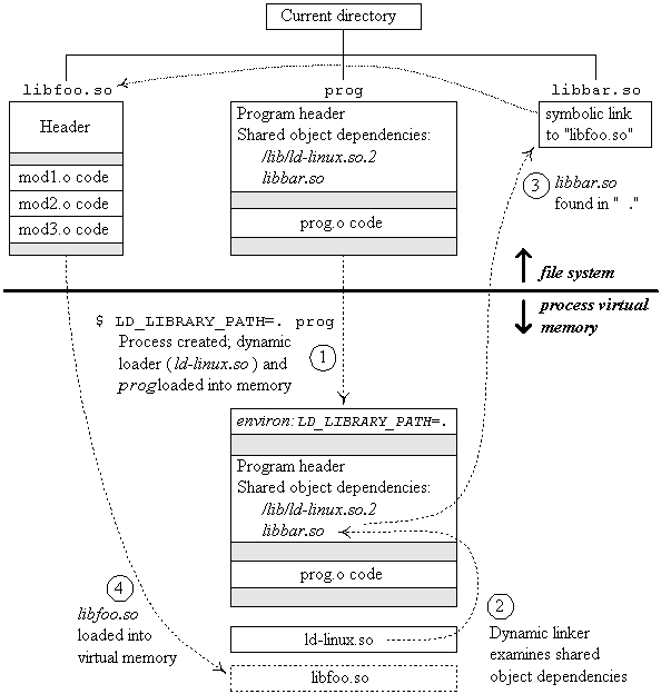
This diagram shows the steps that occur as the program is executed:


(C) 2006, Michael Kerrisk